Homepage
Beamless Lift
Elevator Lift
Personal Watercraft
Topmount / 4-post Lift
Dominator Lifts
Beamless Installation Instructions
Please click on link to enlarge and Print
Installer is responsible for determining if pilings
are adequate to carry the lift and the lifts payload!
Beamless Pile Diagram 3-12K
Beamless Pile Diagram 16-20K
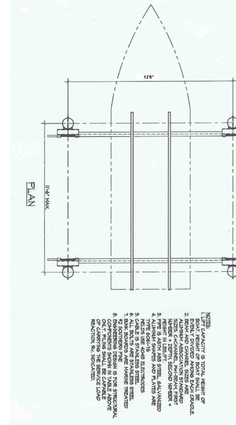
Beamless Specs 4.5K-20K
Steps
1-6
Steps
6 & 7
Figs.
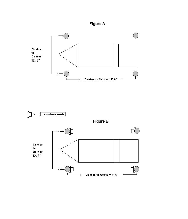
A & B
Figs.
C & D
Fig.
E
Fig.
F
Fig.
G
2003
Deadman
Bracket
Wire Diagram
Beamless Layout
Color photo of Deadman Bracket
Pasta 1
Pasta 2